PSPверсия |  Новое на сайте |  Обратная связь |  Команда сайта |  FAQ |  ПРАВИЛА |     
 

Популярные статьи

Обзор нового на PSPinfo.RU

ДатаГородНомерНазваниеЗаписаться
собери друзей и сообщи об этом всем! »»
НовостиТемыСейвыОбоиВидеоролики
1..:Dr.Who:.945
2.iliya23420
3.Константин414
4.(:389
5.Masserau377
1.Dankin333
2.Игорь330
3.kalash1322
4.DJAMrik271
5.Артем=)252
1..:Dr.Who:.347
2.legofan12130
3.-=Sephiroth=-117
4.Dan96106
5.Patric Star104
1.wushu12250
2.Metal Sonic7404
3.iliya237000
4.Теккен6652
5.LFY6309
1..:Dr.Who:.4548
2.Михаил3742
3..:Canon:.1920
4.Ivan1760
5.Гомер Симпсон1535

PS Move выйдет для PSP и NGP
[21.05.11] Автор: Masserau Новости из мира PSP, Новости из мира PS Vita
PS Move выйдет для PSP и NGP


Если все пойдет хорошо, PS Move выйдет для PSP и NGP.

Sony Playstation Move обладает меньшим успехом, чем Microsoft Kinect и Nintendo's WiiMote, из-за того, что на PS меньше игр, в которые можно было бы играть с помощью PS Move. Не трудно догадаться, что это шаг к оживлению PS Move.

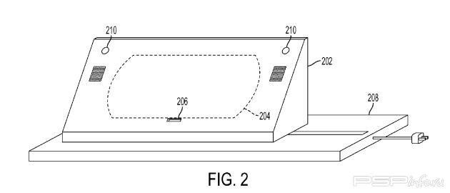
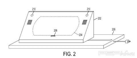
Патент на PS Move был подан компанией еще в 2009 году и назывался "Portable Device Interaction Via Motion Sensitive Controller".


 



  • 68

Просмотров: 3561 Благодарностей: 27
Напечатать Комментарии (66)
»» Сообщить об ошибке «« [?]
Похожее по теме "PS Move выйдет для PSP и NGP":
  • Bust-a-Move '99 / Bust-a-Move 3 [ENG]
  • Bust-a-Move 2 - Arcade Edition [ENG]
  • Bust-A-Move Deluxe [FULL][ENG]
  • Bust-a-Move 4 [ENG]
  • Bust-A-Move Ghost [ENG][CSO][FULL]
    • PSPinfo
    • ВКонтакте
    • Facebook
    • Twitter
    • Справка
    #1 [21.05.11] aspectik

    Посетители
    aspectik
    --

    Публикаций: 0
    Комментариев: 29
    Спасибо: 0/22
    Репутация: 4
    Тут: 15 лет 2 месяцa
    мда....нет слов


    Комментарий слишком короткий. А для СПАСИБО, КУЛЛ, СУППЕР и подобных, есть кнопка Спасибо!

    #2 [21.05.11] Devil hanter

    Посетители
    Devil hanter
    КТО ПИШЕТ ТУТ СВОИ НИКИ?

    Публикаций: 0
    Комментариев: 37
    Спасибо: 0/7
    Репутация: 0
    Тут: 17 лет 8 месяцев
    *подавился печенькой* Что? Не, точнее КАК? Как такое возможно? Это очень интересно... Но самый главный вопрос- зачем? Это же бред.

    #3 [21.05.11] DEHUCCCP

    Посетители
    DEHUCCCP
    Жду вашей критики

    Публикаций: 8
    Комментариев: 266
    Спасибо: 72/2
    Репутация: 206
    Тут: 15 лет 2 месяцa
    такая штучка мне нужна


    ------------------------------------
    Играю в PS3 когда есть время.
    Но времени катастрофически не хватает!

    #4 [21.05.11] Red Dodo

    Посетители
    Red Dodo
    --

    Публикаций: 0
    Комментариев: 6
    Спасибо: 0/3
    Репутация: -1
    Тут: 14 лет 10 месяцев
    Хм, мув на PSP???? Она же маленькая нафиг он ей? хотя было прикольно

    #5 [21.05.11] dethpool

    Посетители
    dethpool
    --

    Публикаций: 0
    Комментариев: 2
    Спасибо: 0/0
    Репутация: 0
    Тут: 14 лет 10 месяцев
    как это возможно??всмысле , каким образом играть?

    #6 [21.05.11] (K)Night

    Посетители
    (K)Night
    PS Vita Fever :D

    Публикаций: 1
    Комментариев: 56
    Спасибо: 4/3
    Репутация: 1
    Тут: 15 лет 6 месяцев
    O_o HOOOOOOOOLY SHIT!
    БУдет очень круто если выпустят)

    #7 [21.05.11] LichKing

    Посетители
    LichKing
    --

    Публикаций: 0
    Комментариев: 294
    Спасибо: 0/0
    Репутация: 3
    Тут: 15 лет 4 месяцa
    А зачем он нуже,у меня есть мув для пс3 и чтоб нормально поиграть надо минимум отойти на полтора метра,на таком росстоянии фиг че на пихе разглядишь fool

    #8 [21.05.11] pspshka_rules

    Посетители
    pspshka_rules
    --

    Публикаций: 0
    Комментариев: 8
    Спасибо: 0/1
    Репутация: 0
    Тут: 14 лет 9 месяцев
    Ну это наверно если psp к телевизору подключить и игра,когда будет в продаже то куплю))

    #9 [21.05.11] artisbang

    Посетители
    artisbang
    Иннова козлы. В Point Blank зобанили D:

    Публикаций: 0
    Комментариев: 215
    Спасибо: 0/37
    Репутация: 38
    Тут: 15 лет 6 месяцев
    WHAAAT???
    ВНЕЗАПНО! Нам и обычного джойстика во как хватает!

    #10 [21.05.11] Dr.MaxPain

    Посетители
    Dr.MaxPain
    в MHP3!

    Публикаций: 0
    Комментариев: 9
    Спасибо: 0/3
    Репутация: 2
    Тут: 15 лет
    В PSP нету гнезда же для джойстика ( мува )!

    #11 [21.05.11] max98-03

    Посетители
    max98-03
    --

    Публикаций: 1
    Комментариев: 168
    Спасибо: 19/110
    Репутация: 36
    Тут: 17 лет 6 месяцев
    интересно , как они подключат move к psp ?

    #12 [21.05.11] Vitamincheg

    Посетители
    Vitamincheg
    ха я обладатель эксклюзива)

    Публикаций: 0
    Комментариев: 57
    Спасибо: 0/16
    Репутация: 6
    Тут: 15 лет 9 месяцев
    Наверное Sony покурили чего то не того....нет слов.... wassat

    #13 [21.05.11] max98-03

    Посетители
    max98-03
    --

    Публикаций: 1
    Комментариев: 168
    Спасибо: 19/110
    Репутация: 36
    Тут: 17 лет 6 месяцев
    тем более move требует камеру .

    #14 [21.05.11] Masserau

    Журналисты
    Masserau
    Поспать надо бы...

    Публикаций: 377
    Комментариев: 111
    Спасибо: 1367/14
    Репутация: 211
    Тут: 15 лет 10 месяцев
    Без флуда, пожалуйста. Источник есть, догадок типа - "как это возможно?", строить не надо. И на автора налетать тоже не надо, я лишь перевел. В любом случае, это интересно. Ждем.

    #15 [21.05.11] Vitamincheg

    Посетители
    Vitamincheg
    ха я обладатель эксклюзива)

    Публикаций: 0
    Комментариев: 57
    Спасибо: 0/16
    Репутация: 6
    Тут: 15 лет 9 месяцев
    PSP на подставочке на столе, ты такой сидишь на стуле размахиваешь этой хренью перед приставкой (зарядки хватит минут на 10 работы laughing )...и вот какого это со строны lol

    #16 [21.05.11] razor621

    Посетители
    razor621
    GTA4

    Публикаций: 0
    Комментариев: 47
    Спасибо: 0/29
    Репутация: 0
    Тут: 16 лет 4 месяцa
    PS move на psp 100% не будет это трольь)

    #17 [21.05.11] redlime

    Посетители
    redlime
    --

    Публикаций: 0
    Комментариев: 19
    Спасибо: 0/0
    Репутация: 0
    Тут: 14 лет 10 месяцев
    япошки опиуса пережахали оО какой мув на псп, если толко уменьшенная копия, размером с зубочистку)

    #18 [21.05.11] stepashkaz

    Посетители
    stepashkaz
    PSP 3008

    Публикаций: 0
    Комментариев: 10
    Спасибо: 0/6
    Репутация: 1
    Тут: 16 лет 3 месяцa
    Если Мув выпустят для ЗЫЗы, то по сути зызка будет выполнять функции пс3, так как будут так же выпускатся спец игры) Значит зызу надо будет подключать к тв)

    #19 [21.05.11] гошак007

    Посетители
    гошак007
    слушаю господа,слушаю

    Публикаций: 0
    Комментариев: 32
    Спасибо: 0/6
    Репутация: 0
    Тут: 17 лет 2 месяцa
    хм принцип подключения будет прост (моя версия)
    мувик переделают под влан и камеру (тоесть врубаем влан подкл. к мувику через влан
    мув активирован .
    дальше по моему нужна вёбка
    ну а дальше сами знаете)

    #20 [21.05.11] Skvols

    Посетители
    Skvols
    --

    Публикаций: 0
    Комментариев: 1
    Спасибо: 0/1
    Репутация: 0
    Тут: 16 лет 7 месяцев
    а я думал что нгп будет сам как мув, не ?

    Информация
    Посетители, находящиеся в группе Гости, не могут оставлять комментарии к данной публикации.

    Сообщить о нарушениях в этих комментариях
    Для чтения материалов на нашем сайте не нужна регистрация.
    Но для написания комментариев она нужна.
    Но теперь, Вы можете оставить свой комментарии к материалам сайта без регистрации на PSPinfo.RU, а просто авторизовавшись в популярных сетях:
    - ВКонтакте
    - Facebook
    - Twitter
    Комментарии модерируются!
    В случае нарушения правил сайта Вы будете заБАНены.


    Обсуждение соцсетей тут.

    Личный кабинет

    E-Mail:

    Пароль (Забыли?):



    [Регистрация]

    МиниСтатистика

    На нашем сайте имеется:
    Обоев для PSP: 153007
    Сейвов для PSP: 7255
    Тем для PSP: 5097
    Роликов о PSP: 26507

    Обои для PSP

    Microsoft Windows XP
    Альбом: Windows
    Разместил: Сергей

    Голосование

    Вы когда-нибудь разбирали свою PSP?




    Показать все опросы

    Купить/починить PSP

    » Место сдается...

    А тут ты был???

    » Покажи где ты уже был!
    » 
    » 


    Flash игры onLine |  Игры для PSP |  Обои для PSP |  Софт для PSP |  Темы для PSP |  Сейвы для PSP |  Комиксы для PSP |  Форум |  Карта сайта |   
    "" and "PlayStation" are registered trademarks of Sony Computer Entertainment Inc. "", PSP and "UMD" are trademarks of Sony Computer Entertainment Inc. "", "XMB", "Memory Stick Duo" and the "Memory Stick Duo" logotype are trademarks of Sony Corp. All product titles, publisher names, trademarks, artwork and associated imagery are trademarks, registered trademarks and/or copyright material of the respective owners. All rights reserved.
    Game's TOP-100 Counter